Зміст: Ведений вал РКПП № 0210417 ↡ Ведений вал РКПП № 0210418 за №…↡ Ведомий вал РКПП з № 6141001 за №…↡ Ведений вал РКПП №6552835 №7011675 ↡
Ведений вал РКПП № 0210417
Розбирання
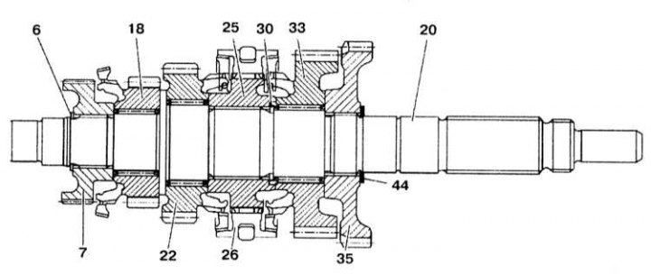
Конструкція веденого валу РКПП № 0210417
3, 36 - Конічні роликові підшипники; 4 - Прокладка; 5 - Крильчатка; 6, 30 - Стопорні кільця; 7 - Синхронізатор 3/4-ї передач; 18 - Шестерня 3-ї передачі; 20 - Ведений вал; 22 - Шестерня 2-ї передачі; 25 - Синхронізатор увімкнення 1/2-ї передач; 26 - Вилка включення 1/2-ї передач; 33 - Шестерня 1-ї передачі; 35 - Шестерня передачі заднього ходу; 37 - Шестерня 5-ї передачі
1. Зніміть конічний роликовий підшипник (3).
2. Зніміть прокладки (4).
3. Випресуйте крильчатку (5) за допомогою викрутки.
4. Зніміть стопорне кільце (6).
5. Зніміть синхронізатор 3-/4-ї передачі (7) та шестерню 3-ї передачі (18) з голчастим підшипником.
6. Випресуйте шестерню 1-ї передачі, шестерню заднього ходу та конічний роликовий підшипник. Для цього встановіть знімач на шестірню 1-ї передачі (33) і зніміть шестерні (33) і (35) з конічним роликовим підшипником (36).

7. Зніміть муфту, вилку та важіль перемикання. Спочатку зніміть важіль (29) із штекером перемикання передач. Зніміть муфту (26) із синхронізатора.

8. Зніміть стопорне кільце (30).
9. Зніміть синхронізатор (25) увімкнення 1/2-ї передачі та шестерню 2-ї передачі (22) з голчастим підшипником.
10. Зніміть кільця синхронізатора.
11. Перевірте всі зняті елементи без зносу.
12. Затисніть провідний вал без кілець синхронізатора в лещата з м'якими губками.
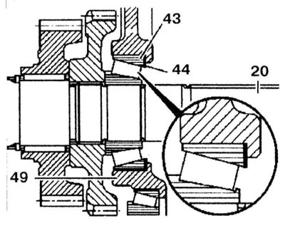
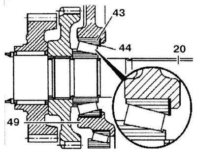
13. Встановіть ведений вал на ведучий. Обертайте ведений вал так, щоб конічний підшипник встановився правильно. 14. Виміряйте відстань "a" між обмежувачем і синхронізатором (7) 3/4-ї передач.

15. Налаштуйте відстань "a" прокладками (4), для чого зніміть або запресуйте конічний роликовий підшипник (3). Випускаються прокладки завтовшки 0.05, 0.1, 0.5, 0.9 та 1.2 мм.

16. Встановіть ведений вал у проміжний картер, повертайте ведений вал так, щоб конічний підшипник встановився правильним чином.
17. Виміряйте відстань b між синхронізатором (7) 3/4-ї передач і контактом поверхнею проміжного картера (49).

18. Вийміть зовнішнє кільце підшипника (43) проміжного картера (49), вставте прокладки (44) і запресуйте зовнішнє кільце підшипника знову. Випускаються прокладки завтовшки 0.2, 0.3 та 0.5 мм.

Складання
1. Складання проводиться у порядку, зворотному зняттю. Встановіть муфту (26) так, щоб асиметричні кінчики шліць (A) були встановлені у напрямку до шестерні 2-ї передачі (22).
2. Встановіть штекер з важелем (29). Відстань між провідним і веденим валами має становити 1.5 мм, відстань між синхронізатором 3-/4-ї передач та контактною поверхнею проміжного картера – 138.4 мм.


Ведений вал РКПП № 0210418 за № 6141000
Розбирання
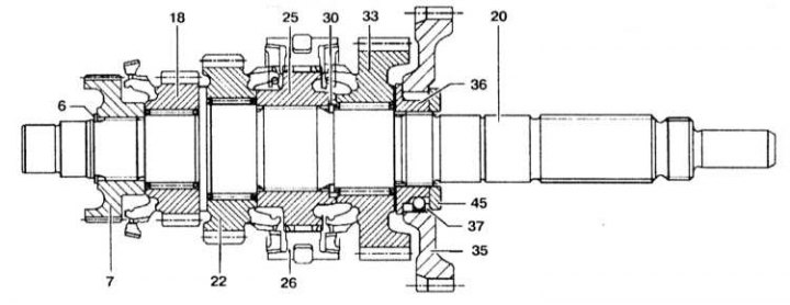
Конструкція веденого валу РКПП з №0210418 до №6141000
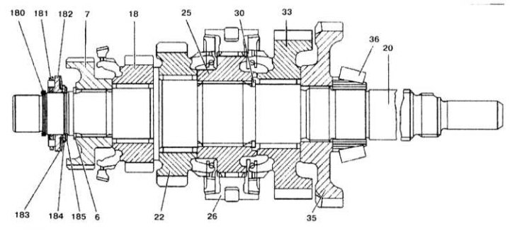
6, 30, 180, 185 - Стопорні кільця; 7 - Синхронізатор 3/4-ї передач; 18 - Шестерня 3-ї передачі; 20 - Ведений вал; 22 - Шестерня 2-ї передачі; 23 - Синхронізатор 1/2-ї передач; 26 - Вилка включення 1/2-ї передач; 33 - Шестерня 1-ї передачі; 35 - Шестерня передачі заднього ходу; 36 - Конічний роликовий підшипник; 181 - Упорний підшипник; 182 - Дискова пружина; 183 - Пружинна прокладка; 184 - Прокладка
1. Зніміть стопорне кільце (180), упорний підшипник (181), дискову пружину (182), пружинну прокладку (183), прокладки (184) та стопорне кільце (185).
2. Зніміть стопорне кільце (6). Випускаються стопорні кільця завтовшки 1.2, 1.3 та 1.4 мм.
3. Зніміть синхронізатор (7) 3/4-ї передач т шестерню 3-й передачі (18) з голчастим підшипником.
4. Зніміть шестерню 1-ї передачі, шестерню заднього ходу та конічний роликовий підшипник.

5. Зніміть штекер з муфтою та важелем перемикання передач.

6. Зніміть стопорне кільце (30).
7. Зніміть синхронізатор (25) та шестерню 2-ї передачі (22) з голчастим підшипником.
8. Зніміть кільця синхронізатора.
9. Перевірте всі зняті елементи на відсутність зносу та пошкоджень.
10. Затисніть провідний вал (2) без кілець синхронізатора в лещата з м'якими губками.
11. Вставте упорну шайбу (123), упорний підшипник (124) та голчастий підшипник (125) без пружини (121).

12. Виміряйте відстань "a" між обмежувачем та синхронізатором (7) 3/4 передач. Відрегулюйте відстань "a" за допомогою упорних шайб (124). Випускаються упорні шайби (124) завтовшки від 4.3 до 5.2 мм з кроком 0.1 мм.

13. Виміряйте відстань b між синхронізатором (7) 3/4-ї передач і контактною поверхнею проміжного картера (49).

14. Вийміть зовнішню обойму підшипника (43) проміжного картера (49), вставте прокладки (44) і знову запресуйте зовнішню обойму (1) підшипника. Випускаються прокладки завтовшки 0.2, 0.3 та 0.5 мм.

Складання
1. Складання проводиться у порядку, зворотному зняттю. Встановіть муфту (26) так, щоб асиметричні кінчики шліць (A) були встановлені у напрямку до шестерні 2-ї передачі (22).

2. Встановіть штекер з важелем (29).

3. Відстань між провідним та веденим валами 1.5 мм, відстань між синхронізатором 3/4-ї передач та контактною поверхнею проміжного картера – 138.4 мм.
Ведомий вал РКПП з № 6141001 за № 6552834
Розбирання
Конструкція веденого валу РКПП з №6141001 до №6552834
8-3 - Шай6и; 6, 30 - Стопорні кільця; 7 - Синхронізатор 3/4-ї передач; 18 - Шестерня 3-ї передачі; 20 - Ведений вал; 22 - Шестерня 2-ї передачі; 25 - Синхронізатор 1/2-ї передач; 26 - Вилка включення 1/2-ї передач; 33 - Шестерня 1-ї передачі; 35 - Шестерня передачі заднього ходу; 44 - Прокладки
1. Зніміть стопорне кільце (6).
2. Зніміть синхронізатор 3/4-ї передач (7) і шестерню 3-й передачі (18) з голчастим підшипником (33).
3. Зніміть шестерню передачі заднього ходу (55) з прокладками (44) та шестерню 1-ї передачі.
4. Зніміть штекер з муфтою та важелем перемикання передач.

5. Зніміть стопорне кільце (30).
6. Зніміть синхронізатор (25) та шестерню 2-ї передачі (22) з голчастим підшипником.
7. Зніміть кільця синхронізатора.
8. Перевірте всі зняті елементи на відсутність пошкоджень та зносу.
9. Запрессуйте ведений вал (20) у проміжний картер. Використовуючи штангенциркуль, виміряйте відстань b від синхронізатора (7) 3/4-ї передач до контактної поверхні проміжного картера (49).

10. Вийміть провідний вал (20) із проміжного картера (49), використовуючи знімач, та встановіть прокладки (44) на ведений вал (20). Випускаються прокладки завтовшки 0.2, 0.3 та 0.5 мм.

Складання
1. Складання проводиться у порядку, зворотному зняттю. Встановіть муфту (26) так, щоб асиметричні кінчики шліць (A) були встановлені у напрямку до шестерні 2-ї передачі (22).

2. Вставте вилку з важелем (29). Відстань між синхронізатором 3/4-ї передач і контактною поверхнею проміжного картера 138.4 мм.

Ведений вал РКПП №6552835 №7011675
Розбирання
Конструкція веденого валу РКПП з №6552835 до №7011675
6, 30 - Стопорні кільця; 7 - Синхронізатор 3/4-ї передач; 10 - Шестерня 3-ї передачі; 20 - Ведений вал; 22 - Шестерня 2-ї передачі; 25 - Синхронізатор 1/2-ї передач; 26 - Вилка включення 1/2-ї передач; 33 - Шестерня 1-ї передачі; 35 - Шестерня передами заднього ходу; 36 - Ступиця; 37 - Пружина; 45 - Прокладки
1. Зніміть стопорне кільце (6).
2. Зніміть синхронізатор 3/4-ї передач (7) і шестерню 3-й передачі (18) з голчастим підшипником.
3. Зніміть шестерню передачі заднього коду (35) з прокладками (45) та маточину.
4. Зніміть шестерню 1-ї передачі (33).
5. Зніміть штекер з муфтою та важелем перемикання передач.

6. Зніміть стопорне кільце (30).
7. Зніміть синхронізатор (25) та шестерню 2-ї передачі (22) з голчастим підшипником.
8. Зніміть кільця синхронізатора.
9. Перевірте всі зняті елементи на відсутність пошкоджень та зносу.
10. Запрессуйте ведений вал (20) у проміжний картер.Використовуючи штангенциркуль, виміряйте відстань b від синхронізатора (7) 3/4-ї передач до контактної поверхні проміжного картера (49).

11. За допомогою знімка вийміть вал (20) з проміжного картера (49) і встановіть на нього прокладки (44). Випускаються прокладки завтовшки 4.3, 4.5, 4.7 та 4.9 мм.

Складання
1.Збірка проводиться в порядку, зворотному зняттю. Встановіть муфту (26) так, щоб асиметричні кінчики шліців (A) були встановлені у напрямку до шестерні 2-ї передачі (22)

2. Вставте вилку з важелем (29). Відстань між синхронізатором 3/4-ї передач і контактною поверхнею проміжного картера становить 138.4 мм.

