Общие параметры
Примечание. Отдельные характеристики приведены также в тексте Главы и в случае обязательности их выполнения выделены жирным шрифтом.
Двигатель
Примечание. Технические данные были определены согласно директивам ЕС. Все данные действительны для автомобилей в базовом исполнении с каталитическим преобразователем. В зависимости от элементов специальной комплектации данные могут отличаться друг от друга. Справки по этому вопросу Вы можете получить на любой СТО Mercedes-Benz.
Общие характеристики
| Модель | Годы вып. | Код по VIN | Тип двигателя/системы подачи топлива | Объем, см³ | Кол-во и расп. ц-ров | Мощность, л.с./кВт | Крутящий момент, Нм | Макс. скорость, км/ч | Приме-чания |
| 300SE 2.8 | 92-93 | 140.028 | M104.944HFM | 2799 | R6 | 193/142 | 270 | 215 | |
| S280 | 93-94 | ||||||||
| 300SE (SEL) | 91-93 | 140.032 (033) | M104.990LH | 3199 | R6 | 231/170 | 315 | 225 | |
| S320 | 93-98 | M104.944HFM | |||||||
| 300SD | 91-93 | 140.134 | OM603.971 | 3449 | R6 | 150/110 | 330 | 185 | |
| S350 TD | 93-96 | ||||||||
| S300 TD | 96-98 | 140.135 | OM606.961 | 2996 | R6 | 177/130 | 330 | 205 | |
| 400SE (SEL) | 91-93 | 140.042 (043) | M119.971LH и M119.981ME | 4196 | V8 | 279/205 | 400 | 245 | |
| S420 | 93-98 | ||||||||
| 500SE (SEL) | 91-93 | 140.050 (051) | M119.970LH и M119.980ME | 4973 | V8 | 320/235 | 470 | 250 | Огр. 270 км/ч |
| S500 | 93-98 | ||||||||
| 600SE (SEL) | 91-93 | 140.056 (057) | M120.980LH и M120.982ME | 5987 | V12 | 394/290 | 570 | 250 | Огр. 290 км/ч |
| S600 | 93-98 |
| Номинальная мощность, кВт (л.с.)/при об/мин)//Номинальный крутящий момент, Нм (при об/мин) | |
| S280 | 142 (193)/5500//270/3750 |
| S320 | 170 (231)/5600//315/3750 |
| S420 | 205 (279)/5700//400/3900 |
| S300 | TDI 130 /4400//330/1600-3600 |
| S500 | 235 (320)/5600//470/3900 |
| S600 | 290 (394)/5200//570/3800 |
| Число цилиндров/Тип/Рабочий объем, см³/Обозначение | |
| S280 | 6/DOHC/2799/104 |
| S320 | 6/DOHC/3199/104 |
| S420 | 8/OHC/4196/119 |
| S300 | TDI 6/DOHC/2996/606 |
| S500 | 8/OHC/4973/119 |
| S600 | 12/OHC/5987/120 |
| Максимальные обороты, об/мин | |
| S280 | 6400 |
| S320 | 6400 |
| S420 | 6000 |
| S300 | TDI 5300 |
| S500 | 6000 |
| S600 | 6000 |
| Степень сжатия | |
| S280 | Данные не приведены |
| S320 | 10.0:1 |
| S420, S500 | 11.0:1 |
| S600 | Данные не приведены |
| S320CDI | Данные не приведены |
| Давление компрессии, бар | |
| S280 S320 | 10-14 |
| S420, S500, S600 | 13.5-15.5 |
| S300 | TDI 26-32 |
| Порядок работы цилиндров | |
| S280, S320, S300 | TDI 1-5-3-6-2-4 |
| S420, S500 | 1-5-4-8-6-3-7-2 |
| S600 | 1-12-5-8-3-10-6-7-2-11-4-9 |
Приводной ремень
| (Генератор/рулевой усилитель, кондиционер воздуха), мм | |
| S280 | 2170/2257 |
| S320 | 2337/2440 |
| S420, S500 | 2460/- |
| S300 | TDI 6PKx2080/6PKx2120 |
| S600 | 2585/- |
| Клапанные зазоры | не регулируются, т.к. применены гидрокомпенсаторы |
Капитальный ремонт двигателя
Двигатели серии М104
Размеры подшипников распределительных валов
| Номинальный диаметр, мм | |
| Распределительный вал | 29.947 29.963 |
| Головка блока цилиндров | 30.000 30.021 |
| Ремонтный диаметр, мм | |
| Распределительный вал | 30.434 30.450 |
| Головка блока цилиндров | 30.500 30.525. |
| Допустимая чистота поверхности постели, мм | 0.001-0.004 |
| Допустимая конусность, мм | 0.012 |
| Допустимое смещение оси, мм | 0.040 |
| Люфт в подшипнике, мм | |
| Радиальный | 0.035 |
| Осевой | 0.06 - 0.21 |
Размеры направляющих втулок клапанов
Втулки из цветного металла
Направляющая втулка из цветного металла (двигатели М104.990 первой версии)
| Диаметры отверстий в головке блока цилиндров, мм | |
| Номинальный размер | 13.50-13.51 |
| 1-й номинальный размер | 13.53 |
| Ремонтный размер | 13.70 |
| Наружный диаметр направляющей втулки, мм/ Цветовая маркировка | |
| Номинальный размер | 13.52-13.53/- |
| 1-й номинальный размер | 13.54-13.55/ Серо-коричневая |
| Ремонтный размер | 13.71-13.72/Красная |
| Натяг, мм | 0.012-0.031 |
| Внутренний диаметр направляющей 1-й версии, мм | |
| Впускной клапан | 8.000-8.015 |
| Выпускной клапан | 9.000-9.015 |
| Внутренний диаметр направляющей 2-й версии, мм | |
| Впускной клапан | 7.000-7.015 |
| Выпускной клапан | 8.000-8.015 |
| Длина «L» втулки, мм | |
| Впускной клапан | 35.5 |
| Выпускной клапан | 37.9 |
| Выступание «с» втулки, мм | |
| Впускной клапан | 10.8-11.2 |
| Выпускной клапан | 8.2-8.6 |
Металлокерамические втулки
Металлическая направляющая втулка двигателя М104.990 (второй версии) и М104.944/994
| Диаметр отверстия в головке блока цилиндров, мм | |
| Номинальный размер | 12.50-12.51 |
| 1-й номинальный размер | 12.53 |
| Ремонтный размер | 12.70 |
| Наружный диаметр направляющей втулки, мм/Цветовая маркировка | |
| Номинальный размер | 12.54/- |
| 1-й номинальный размер | 12.56-12.57/- |
| Ремонтный размер | 12.74-12.75/- |
| Натяг, мм | 0.029-0.051 |
| Внутренний диаметр направляющей втулки, мм | |
| Впускные и выпускные клапаны | 7.000-7.015 |
| Длина «L» направляющей втулки, мм | |
| Впускные и выпускные клапаны | 37.5 |
| Выступание «с» направляющей втулки, мм | |
| Впускные и выпускные клапаны | 10.2-10.4 |
Размеры седел клапанов
Детали установки седел клапанов
| Впускной клапан//Выпускной клапан | |
| Номинальные значения, мм | |
| Диаметр D1 отверстия | 36 Н6//32 Н6 |
| Диаметр D седла | 36.10-36.12//32.10-32.12 |
| Ремонтные значения, мм | |
| Диаметр D1 отверстия | 37.20 Н6//33.20 Н6 |
| Диаметр D седла | 37.30//32.30 |
| Размер «t» | 5.6-5.9 |
| Диаметр D2 | 30//25.6 |
Рабочие характеристики поршневых колец
| Зазоры посадки колец в канавках поршней, мм | |
| Характеристика | Значение |
| Верхнее компрессионное кольцо | 0.20-0.40 |
| Нижнее компрессионное кольцо | 0.20- 0.40 |
| Маслосъемное кольцо | 0.20- 0.45 |
| Зазоры в замках колец, мм | |
| Верхнее компрессионное кольцо | 0.015-0.050 |
| Нижнее компрессионное кольцо | 0.020- 0.040 |
| Маслосъемное кольцо | 0.010- 0.045 |
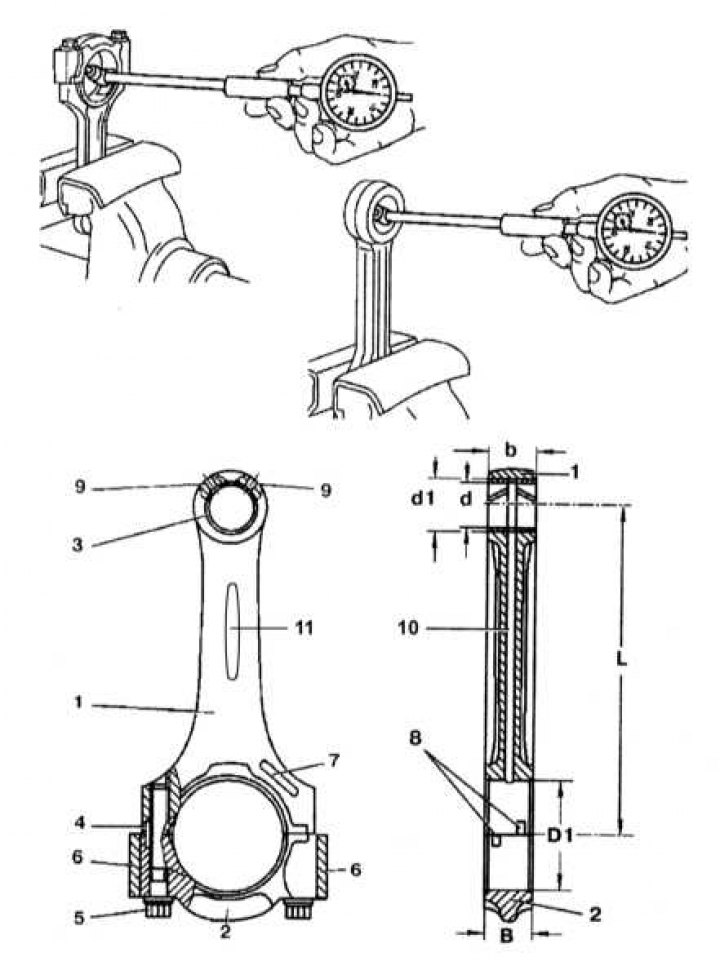
Размеры и веса шатунов и шатунных подшипников
2 - Обозначение; 3 - Балансировочный грузик; 4 - Болт М9; 5 - Направляющая втулка; 6 - Верхний вкладыш; 7 - Нижний вкладыш; 8 - Установочные ушки; Стрелка - Направление движения
| Шатуны | |
| Расстояние «L» между центрами головок шатуна, мм | |
| М104.94 | 148.995-49.005 |
| М104.99 | 144.995-145.005 |
| Ширина «В» нижней головки шатуна, мм | 21.948 - 22.000 |
| Ширина «b» верхней головки шатуна, мм | 21.948 - 22.000 |
| Диаметр «D1» нижней головки без вкладышей, мм | 51.600 - 51.619 |
| Диаметр «d1» верхней головки под втулку, мм | 24.500 - 24.571 |
| Внутренний диаметр «d» втулки верхней головки шатуна, мм | 22.007 - 22.013 |
| Люфт поршневого пальца во втулке, мм | 0.013 - 0.018 |
| Допустимое скручивание шатуна, мм | 0.015 |
| Допустимое отклонение от параллельности верхней головки шатуна и втулки, мм | 0.07 |
| Допустимая разница весов шатунов, г | 4 |
| Коленчатый вал | |
| Диаметры шатунных шеек, мм/ цветовая маркировка щеки кривошипа | |
| Номинальный | 47.955 - 47.965/Без маркировки |
| Номинальный | 1 47.945 - 47.955/Оранжевый |
| Номинальный | 2 47.935 - 47.945/Синий |
| 1-й ремонтный размер | 47.700 - 47.715/- |
| 2-й ремонтный размер | 47.450 - 47.465/- |
| 3-й ремонтный размер | 47.200 - 47.215/- |
| 4-й ремонтный размер | 46.950 - 46.965/- |
| Ширина шатунных шеек, мм | |
| Номинальный размер | 27.958 - 28.042 |
| Ремонтный размер | до 28.300 |
| Вкладыши шатунных подшипников | |
| Толщина стенки, мм | |
| Номинальный размер | |
| Красная маркировка | 1.806 - 1.810 |
| Желтая маркировка | 1.810 - 1.814 |
| Синяя маркировка | 1.814 - 1.818 |
| Номинальный 1 (не поставляется как запчасть) | |
| Красная маркировка | 1.811 - 1.815 |
| Желтая маркировка | 1.815 - 1.819 |
| Синяя маркировка | 1.819 - 1.823 |
| Номинальный 2 (не поставляется как запчасть) | |
| Красная маркировка | 1.816 - 1.820 |
| Желтая маркировка | 1.820 - 1.824 |
| Синяя маркировка | 1.824 - 1.828 |
| 1-й ремонтный размер (Желтая маркировка) | 1.995 - 1.999 |
| 2-й ремонтный размер (Желтая маркировка) | 2.060 - 2.064 |
| 3-й ремонтный размер (Желтая маркировка) | 2.185 - 2.189 |
| 4-й ремонтный размер (Желтая маркировка) | 2.310 - 2.314 |
Размеры коленчатого вала и коренных подшипников
| Контрольные размеры | |
| Допустимая конусность коренных и шатунных шеек коленчатого вала, мм | 0.002 |
| Допустимая овальность на 54 мм длины, мм | |
| Коренные шейки | 0.010 |
| Шатунные шейки | 0.010 |
| Допустимое отклонение оси установленных вкладышей, мм | 0.02 |
| Радиус внутренней галтели, мм | |
| Коренные шейки 1.9-2.1 | |
| Шатунные шейки 1.9-2.1 | |
| Ремонтные размеры | |
| Диаметр коренной шейки, мм/Цветовая/Буквенная маркировка на передней части коленчатого вала | |
| Номинальный | |
| 57.960 - 57.965/Синий/В | |
| 57.955 - 57.960/Желтый/G | |
| 57.950 - 57.955/Красный/R | |
| Номинальный 1 | |
| 57.945 - 57.950/Белый/W | |
| 57.940 - 57.845/Пурпурный/V | |
| 1-й ремонтный размер | 57.705 - 57.715/-/- |
| 2-й ремонтный размер | 57.450 - 57.465/-/- |
| 3-й ремонтный размер | 57.205 - 57.215/-/- |
| 4-й ремонтный размер | 57.955 - 57.965/-/- |
Буквенная маркировка
Примечание. Цветовая маркировка нанесена на противовесы №№ 8 и 9, буквенное обозначение - на переднюю часть коленчатого вала.
| Ширина коренной шейки, мм/Цветовая/ | |
| Номинальный размер | |
| 24.500 - 24.533/-/0 | |
| Номинальный 1 | |
| 24.600 - 24.633/Красный/1 | |
| 1-й ремонтный размер | 24.700 - 24.733/-/- |
| 2-й ремонтный размер | 24.900 - 24.933/-/- |
| 3-й ремонтный размер | 25.000 - 25.033/-/- |
| 4-й ремонтный размер | -/-/- |
Подбор толщины вкладышей коренных подшипников
| Номинальный размер (Диаметр отверстия под шейку коренного подшипника 58.00 мм) | |
| Синяя метка (индекс 52) | |
| Толщина верхнего вкладыша, мм | 2.255-2.260 |
| Толщина нижнего вкладыша, мм | 2.255-2.260 |
| Желтая метка (индекс 54) | |
| Толщина верхнего вкладыша, мм | 2.260-2.265 |
| Толщина нижнего вкладыша, мм | 2.260-2.265 |
| Красная метка (индекс 56) | |
| Толщина верхнего вкладыша, мм | 2.265-2.270 |
| Толщина нижнего вкладыша, мм | 2.265-2.270 |
| Номинальный размер 1 (Диаметр отверстия под шейку коренного подшипника 58.00 мм) | |
| Бело-синяя метка (индекс 57) | |
| Толщина верхнего вкладыша, мм | — |
| Толщина нижнего вкладыша, мм | 2.263-2.268 |
| Бело-желтая метка (индекс 58) | |
| Толщина верхнего вкладыша, мм | — |
| Толщина нижнего вкладыша, мм | 2.268-2.273 |
| Бело-красная метка (индекс 60) | |
| Толщина верхнего вкладыша, мм | — |
| Толщина нижнего вкладыша, мм | 2.273-2.278 |
| 1-й ремонтный размер (Диаметр отверстия под шейку коренного подшипника 57.75 мм) | |
| Синяя метка (индекс 52) | |
| Толщина верхнего вкладыша, мм | 2.375-2.380 |
| Толщина нижнего вкладыша, мм | 2.375-2.380 |
| Желтая метка (индекс 54) | |
| Толщина верхнего вкладыша, мм | 2.380-2.385 |
| Толщина нижнего вкладыша, мм | 2.380-2.385 |
| 2-й ремонтный размер (Диаметр отверстия под шейку коренного подшипника 57.50 мм) | |
| Синяя метка (индекс 52) | |
| Толщина верхнего вкладыша, мм | 2.500-2.505 |
| Толщина нижнего вкладыша, мм | 2.500-2.505 |
| Номинальная ширина вкладыша, мм | 19.979 - 20.000 |
| Диаметр постелей коренных подшипников коленчатого вала, мм | |
| Подшипники №№ 1, 5, 7 | |
| 1 кернение | 62.500-62.505 |
| 2 кернения | 62.506-62.513 |
| 3 кернения | 62.513-62.519 |
| Подшипники №№ 2, 3, 4, 6 | |
| 2 кернения | 62.500-62.506 |
| 3 кернения | 62.506-62.519 |
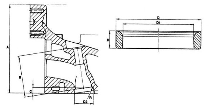
Размеры и обозначения цилиндров и поршней
| Диаметры цилиндров//поршней, мм | |
| Номинальный размер (89.9 мм) | |
| Маркировка группы допуска A | 89.900 -89.906//89.873 - 89.879 |
| Маркировка группы допуска X | 89.906 - 89.912//88.878 - 89.886 |
| Маркировка группы допуска В | 89.912 - 89.918//89.885 - 89.891 |
| 1-й ремонтный размер (+ 0.25 мм) | |
| Маркировка группы допуска A | 90.150 - 90.156//90.123 - 90.129 |
| Маркировка группы допуска Х | 90.156 - 90.162//90.128 - 90.136 |
| Маркировка группы допуска В | 90.162 - 90.168//90.135 - 90.141 |
| 2-й ремонтный размер (+ 0.5 мм) | |
| Маркировка группы допуска A | 90.400 - 90.406//90.373 - 90.379 |
| Маркировка группы допуска Х | 90.406 - 90.412//90.378 - 90.386 |
| Маркировка группы допуска B | 90.412 - 90.418//90.385 - 90.391 |
Примечание. Маркировка (кроме двигателей AMG) нанесена на выпуклой части поршня и выбита на сопрягаемой поверхности блока цилиндров.
Размеры блока цилиндров
| Высота, мм | 282.25 -282.35 |
| Минимально допустимая высота после обработки1), мм | 281.95 |
| Допустимая шероховатость сопрягаемой поверхности блока цилиндров, мм | |
| Верхней | 0.03 |
| Нижней | 0.04 |
| 1) После обработки блока цилиндров допускается изменение высоты не более чем на 0.4 мм. | |
Двигатели серии М119
Размеры подшипников распределительных валов
| Диаметр постелей подшипников распределительных валов в головке блока цилиндров, мм | |
| Номинальный размер | 28.000 28.021 |
| Ремонтный размер | 28.500 26.521 |
| Диаметр шейки подшипника распределительного вала, мм | |
| Номинальный | 27.960 2.947 |
| Ремонтный | 28.447 28.460 |
| Люфт в подшипниках распределительного вала, мм | |
| Радиальный | 0.053-0.061 |
| Осевой | 0.050-0.150 |
Размеры направляющих втулок клапанов
Направляющая втулка из цветного металла (двигатели М104.990 первой версии)
| Втулки из цветного металла (только двигатели М119.97) | |
| Диаметры отверстий в головке блока цилиндров, мм | |
| Номинальный размер | 13.50-13.51 |
| 1-й номинальный размер | 13.53 |
| Ремонтный размер | 13.70 |
| Наружный диаметр направляющей втулки, мм / цветовая маркировка | |
| Номинальный размер | 13.51-13.53/- |
| 1-й номинальный размер | |
| 13.52-13.53/Серо-зеленый | |
| 13.54-13.55/Серо-коричневый | |
| Ремонтный размер | 13.71-13.72/Красный |
| Наружный диаметр направляющей втулки, мм / цветовая маркировка | |
| Внутренний диаметр направляющей, мм | |
| Впускной и выпускной клапаны | 7.000-7.015 |
| Наружный диаметр направляющей втулки, мм / цветовая маркировка | |
| Длина «L» втулки, мм | |
| Впускной клапан | 35.5 |
| Выпускной клапан | 37.9 |
| Расстояние «а» (впускной клапан), мм | 2.7-2.9 |
| Расстояние «b» (впускные и выпускные клапаны), мм | 5.4-5.6 |
| Расстояние «с» (впускные и выпускные клапаны), мм | 10.8-11.2 |
| Металлокерамические втулки (все двигатели серии М119) | |
| Диаметр отверстия в головке блока цилиндров, мм | |
| Номинальный размер | 12.50-12.51 |
| 1-й номинальный размер | 12.53 |
| Ремонтный размер | 12.70 |
| Наружный диаметр направляющей втулки, мм/Цветовая маркировка | |
| Номинальный размер | 12.54-12.55/- |
| 1-й номинальный размер | 12.56-12.57/Серый |
| Ремонтный размер | 12.74-12.75/Красный |
| Внутренний диаметр направляющей втулки, мм | |
| Впускные и выпускные клапаны | 7.000-7.015 |
| Длина «L» направляющей втулки, мм | |
| Впускные и выпускные клапаны | 37.5 |
| Расстояние «а», мм | — |
| Расстояние «b»(впускные и выпускные клапаны), мм | 5.4-5.6 |
| Расстояние «с» (впускные и выпускные клапаны), мм | 10.2-10.4 |
Размеры седел клапанов

Двигатели М119.970
| Номинальные размеры | |
| Диаметр «D1» отверстия в головке блока цилиндров, мм | |
| Впускные клапаны | 39 Н6 |
| Выпускные клапан | 34 Н6 |
| Диаметр «D» седла, мм | |
| Впускные клапаны | 39.10-39.09 |
| Выпускные клапаны | 34.10-34.09 |
| Ремонтные размеры | |
| Диаметр «D1» отверстия в головке блока цилиндров, мм | |
| Впускные клапаны | 40.20 Н6 |
| Выпускные клапаны | 35.20 Н6 |
| Диаметр «D» седла, мм | |
| Впускные клапаны | 40.30 |
| Выпусеные клапаны | 35.30 |
| Размер «t» (впускные и выпускные клапаны), мм | 7.8-7.9 |
| Диаметр «D2», мм | |
| Впускные клапаны | 38.47 |
| Выпускные клапаны | 33.47 |
Двигатели М119.971/980/982
| Номинальные размеры | |
| Диаметр «D1» отверстия в головке блока цилиндров, мм | |
| Впускные клапаны | 36 Н6 |
| Выпускные клапаны | 34 Н6 |
| Диаметр «D» седла, мм | |
| Впускные клапаны | 36.10-36.09 |
| Выпускные клапаны | 34.10-34.09 |
| Ремонтные размеры | |
| Диаметр «D1» отверстия в головке блока цилиндров, мм | |
| Впускные клапаны | 37.20 Н6 |
| Выпускные клапаны | 35.20 Н6 |
| Диаметр «D» седла, мм | |
| Впускные клапаны | 37.30 |
| Выпускные клапаны | 35.30 |
| Размер «t» (впускные и выпускные клапаны), мм | 7.8 - 7.9 |
| Диаметр «D2», мм | |
| Впускные клапаны | 35.47 |
| Выпускные клапаны | 33.47 |
Размеры и обозначения цилиндров и поршней
A — Продольное направление
B — Поперечное направление
а — Верхняя точка хода верхнего компрессионного кольца
b — Нижняя мертвая точка
с — Нижняя точка хода маслосъемного кольца
1, 2, 3 — Точки измерений
Двигатели серии М119.960/970/972/974
| Диаметры поршней//цилиндров, мм | |
| Номинальный размер (96.5 мм) | |
| Обозначение 0 (индекс 52) | 96.483-96.493// 96.498-96.503 |
| Обозначение 0+ (Индекс 53) | 96.488-96.498// 96.503-96.508 |
| Обозначение 1 (Индекс 54) | 96.493-96.503// 96.508-96.513 |
| Обозначение 1+ (Индекс 55) | 96.498-96.508// 96.513-96.518 |
| Обозначение 2 (Индекс 56) | 96.503-96.513// 96.518-96.523 |
| 1-й ремонтный размер (+0.5 мм) | |
| Обозначение 0 | 96.983-96.993//96.998-97.003 |
| Обозначение 1 | 96.993-97.003//97.008-97.013 |
| Обозначение 2 | 97.003-97.013//97.018-97.023 |
| 2-й ремонтный (+1.0 мм) | |
| Обозначение 0 | 97.483-97.493//97.498-97.503 |
| Обозначение 1 | 97.493-97.503//97.508-97.513 |
| Обозначение 2 | 97.503-97.513//97.518-97.523 |
Двигатели серии М119.980/982/970/972/974
| Диаметры поршней//цилиндров, мм | |
| Номинальный размер (96.5 мм) | |
| Обозначение A (индекс 52) | 96.482-96.495// 96.500-96.508 |
| Обозначение В (индекс 54) | 96.491-96.504// 96.508-96.516 |
| Обозначение С (индекс 56) | 96.499-96.512// 96.516-96 524 |
| 1-й ремонтный (+0.5 мм) | |
| Обозначение A | 96.982-96.995//97.000-97.008 |
| Обозначение В | 96.991-97.004//97.008-97.016 |
| Обозначение | С 96.999-97.012//97.016-97.024 |
| 2-й ремонтный (+1.0 мм) | |
| Обозначение A | 97.482-97.495//97.000-97.508 |
| Обозначение В | 97.491-97.504//97.508-97.516 |
| Обозначение С | 97.499-97.512//97.516-97.524 |
Двигатели М119.971/975/981/985 (цифровое обозначение)
| Диаметры поршней//цилиндров, мм | |
| Номинальный размер (92.0 мм) | |
| Обозначение 0 (индекс 52) | 91.983-91.993// 91.998-91.003 |
| Обозначение 0+ (индекс 53) | 91.988-91.998// 92.003-92.008 |
| Обозначение 1 (индекс 54) | 91.993-92.003// 92.008-92.013 |
| Обозначение 1+ (индекс 55) | 91.998-92.008// 92.013-92.018 |
| Обозначение 2 (индекс 56) | 92.003-92:013// 92.018-92.023 |
| 1-й ремонтный (+0.5 мм) | |
| Обозначение 0 | 92.483-92.493//92.498-92.503 |
| Обозначение 1 | 92.493-92.503//92.508-92.513 |
| Обозначение 2 | 92.503-92.513//92.518-92.523 |
| 2-й ремонтный (+1.0 мм) | |
| Обозначение 0 | 92.983-92.993//92.998-93.003 |
| Обозначение 1 | 92.993-93.003//93.008-93.013 |
| Обозначение 2 | 93.003-93.013//93.018-93.023 |
Двигатели М119.971/975/981/985 (буквенное обозначение)
| Диаметры поршней//цилиндров, мм | |
| Номинальный размер (96.5 мм) | |
| Обозначение A (индекс 52) | 91.982-91.995// 92.000-92.008 |
| Обозначение В (индекс 54) | 91.991-92.004// 92.008-92.016 |
| Обозначение С (индекс 56) | 91.999-92.012// 92.016-92.024 |
| 1-й ремонтный (+0.5 мм) | |
| Обозначение A | 92.482-92.495//92.500-92.508 |
| Обозначение В | 92.491-92.504//92.508-92.516 |
| Обозначение С | 92.499-92.512//92.516-92.524 |
| 2-й ремонтный (+1.0 мм) | |
| Обозначение A | 92.982-92.995//93.000-93.008 |
| Обозначение В | 92.991-93.004//93.008-93.016 |
| Обозначение С | 92.999-93.012//93.016-93.024 |
Размеры шатунов
Шатуны
| Расстояние «L» между центрами головок шатуна, мм | 154.450-154.550// 148.950-149.050 |
| Ширина «В» нижней головки шатуна, мм | 24.857-24.890//24.857-24.890 |
| Ширина «b» верхней головки шатуна, мм | 27.900-28.000//21.900-22.100 |
| Диаметр «D» нижней головки без вкладышей, мм | 51.600-51.619//51.600-51.619 |
| Диаметр «d1» верхней головки под втулку, мм | 26.007-26.013//24.007-24.013 |
| Внутренний диаметр «d» втулки верхней головки шатуна, мм | 29.000-29.021//27.000-27.210 |
| Люфт поршневого пальца во втулке, мм | 0.007-0.018 |
Размеры коленчатого вала, коренных и шатунных подшипников
Двигатели с установочным подшипником
| Диаметр шейки коленчатого вала, мм | |
| Номинальный | |
| Синяя маркировка | 63.965 |
| Желтая маркировка | 63.960 |
| Красная маркировка | 63.955 |
| 1-й ремонтный | 63.700 |
| 2-й ремонтный размер | 63.450 |
| 3-й ремонтный размер | 63.200 |
| 4-й ремонтный размер | 62.950 |
| Ширина коренной шейки с установочным подшипником, мм | |
| Номинальный размер | 27.021 |
| Предельный допустимый размер | 27.50 |
| Диаметр шейки коленчатого вала, мм | |
| Номинальный | 47.955 |
| 1-й ремонтный | 47.705 |
| 2-й ремонтный размер | 47.455 |
| 3-й ремонтный размер | 47.205 |
| 4-й ремонтный размер | 46.955 |
| Ширина коренной шейки, мм | |
| Номинальный размер | 50.100 |
| Предельный допустимый размер | 50.30 |
| Диаметр отверстий под коренные подшипники, мм | |
| Синяя маркировка | 68.486 |
| Желтая маркировка | 68.492 |
| Красная маркировка | 68.500 |
| Диаметр отверстий под шатунные подшипники, мм | 51.619 |
| Допустимые овальность и конусность коренных и шатунных шеек коленчатого вала, мм | 0.01 |
| Радиальный зазор в коренных подшипниках, мм | |
| Новый вал | 0.021 - 0.045 |
| Предельно допустимое значение | 0.09 |
| Радиальный зазор в шатунных подшипниках, мм | |
| Новый вал | 0.030 - 0.055 |
| Предельно допустимое значение | 0.080 |
| Осевой люфт коленчатого вала, мм | |
| Новый вал | 0.10 - 0.22 |
| Предельно допустимое значение | 0.30 |
| Осевой люфт шатунов, мм | |
| Новый вал | 0.22 - 0.38 |
| Предельно допустимое значение | 0.50 |
Соответствие цветовой и точечной маркировки вкладышей коренных подшипников и блока цилиндров
| Параметры | Маркировка | ||
| Точечная маркировка на блоке цилиндров | 1 точка | 2 точки | 3 точки |
| Цветовая маркировка на крышках подшип-ников/литье блока | Синий | Желтый | Красный |
| Цветовая маркировка верхних вкладышей | Синий | Желтый | Красный |
| Цветовая маркировка нижних вкладышей | Синий | Желтый | Красный |
Двигатели с упорными полукольцами
(Статья была получена с портала: «www.mercedesman.ru»)
| Диаметр шейки коленчатого вала//толщина упорных полуколец, мм | |
| Номинальный размер | |
| Синяя маркировка | 63.960-63.965//2.20 |
| Желтая маркировка | 63.955-63.960//2.25 |
| Красная маркировка | 63.950-63.955//2.30 |
| 1-й номинальный размер | 63.945-63.950 63.940-63.945 63.935-63.940 |
| Ширина шейки коленчатого вала, мм | 27.000-27.033 |
| Диаметр шейки коленчатого вала, мм | 47.955-47.965 |
| Ширина шейки коленчатого вала, мм | 50.000/50.100 |
| Диаметр отверстий под коренные подшипники, мм | |
| Синяя маркировка | 68.480-68.486 |
| Желтая маркировка | 68.986-68.492 |
| Красная маркировка | 68.492-68.500 |
| Диаметр отверстий под шатунные подшипники, мм | 51.600-51.619 |
| Допустимые овальность и конусность коренных и шатунных шеек коленчатого вала, мм | 0.01 |
| Радиальный зазор в коренных подшипниках, мм | |
| Новый вал | 0.021 - 0.045 |
| Предельно допустимое значение | 0.09 |
| Радиальный зазор в шатунных подшипниках, мм | |
| Новый вал | 0.030 - 0.055 |
| Предельно допустимое значение | 0.080 |
| Осевой люфт коленчатого вала, мм | |
| Новый вал | 0.10 - 0.22 |
| Предельно допустимое значение | 0.30 |
| Осевой люфт шатунов, мм | |
| Новый вал | 0.22 - 0.38 |
| Предельно допустимое значение | 0.50 |
Соответствие цветовой и точечной маркировки вкладышей коренных подшипников и блока цилиндров
| Параметры | Маркировка | ||
| Точечная маркировка на блоке цилиндров | 1 точка | 2 точки | 3 точки |
| Цветовая маркировка на крышках подшип-ников/литье блока | Синий | Желтый | Красный |
| Цветовая маркировка верхних вкладышей | Синий | Желтый | Красный |
| Цветовая маркировка нижних вкладышей | Синий | Желтый | Красный |
Двигатели серии М120
Кодовые обозначения распределительных валов
| Двигатели серии М120.980 по № 010 822 | |
| Правый впускной распределительный вал | 29 |
| Левый впускной распределительный вал | 30 |
| Правый выпускной распределительный вал | 27 |
| Левый выпускной распределительный вал | 28 |
| Двигатели серий М120.980 с № 010 823 и М120.982 | |
| Правый впускной распределительный вал | 33 |
| Левый впускной распределительный вал | 34 |
| Правый выпускной распределительный вал | 31 |
| Левый выпускной распределительный вал | 32 |
Размеры и детали установки направляющих втулок клапанов
Детали установки направляющих втулок клапанов
| Втулки из цветного металла | |
| Внутренний диаметр направляющей втулки, мм | |
| Впускной клапан | 7.000 - 7.015 |
| Выпускной клапан | 8.000 - 8.015 |
| Длина направляющей втулки «L», мм | 37.5 |
| Натяг в головке блока цилиндров | 0.029 - 0.051 |
| Стопорное кольцо | Не установлено |
| Расстояние «a» | 2.7 - 2.9 |
| Расстояние «b» | 5.4 - 5.6 |
| Расстояние «c» | 8.2 - 8.6 |
| Металлизированные втулки | |
| Внутренний диаметр направляющей втулки, мм | |
| Впускной клапан | 7.000 - 7.015 |
| Выпускной клапан | 7.000 - 7.015 |
| Длина направляющей втулки «L», мм | 37.5 |
| Натяг в головке блока цилиндров | 0.029 - 0.051 |
| Стопорное кольцо | Установлено |
| Расстояние «a» | — |
| Расстояние «b» | — |
| Расстояние «c» | 10.2 - 10.4 |
Размеры и обозначения цилиндров и поршней
| Диаметры цилиндров//поршней, мм | |
| Номинальный размер (89 мм) | |
| Группа1) 0 | 89.000 - 89.008//88.978 - 88.988 |
| Группа 1 | 89.008 - 89.016//88.988 - 88.998 |
| Группа 2 | 89.016 - 89.024//88.998 - 89.008 |
| 1-й ремонтный размер (+ 0.352) мм) | |
| Группа 0 | 89.350 - 89.358 // 89.328 - 89.338 |
| Группа 1 | 89.358 - 89.366 // 89.338 - 89.348 |
| Группа 2 | 89.361 - 89.374 // 89.348 - 89.358 |
| 2-й ремонтный размер (+0.72) мм) | |
| Группа 0 | 89.700 - 89.708 // 89.678 - 89.688 |
| Группа 1 | 89.708 - 89.710 // 89.688 - 89.698 |
| Группа 2 | 89.716 - 89.724 // 89.698 - 89.708 |
| 1) Номер группы на новых двигателях выбит на сопрягаемой поверхности блока цилиндров, следующего цилиндра | |
| 2) Номер группы нанесен на юбке поршня краской и, кроме того, выбит сбоку на юбке поршня | |
Размеры шатунов

| Размер «l», мм | 153.95 - 154.05 |
| Ширина нижней шатунной головки «В», мм | 21.948 - 22.000 |
| Ширина верхней шатунной головки «b», мм | 19.90 - 20.10 |
| Диаметр отверстия нижней головки шатуна «D1», мм | 51.600 - 51.619 |
| Диаметр отверстия верхней головки шатуна «d1», мм | 24.500 - 24.521 |
| Внутренний диаметр втулки верхней головки шатуна «d», мм | 22.007 - 22.013 |
| Зазор посадки поршневого пальца во втулке шатуна, мм | 0.013 - 0.018 |
| Допустимая разница весов шатунов в сборе, г | 4 |
Размеры коленчатого вала, коренных и шатунных подшипников
| Диаметр коренной шейки коленчатого вала//толщина упорной прокладки установочного подшипника, мм | |
| Номинальный размер | 57.960//2.15 57.955//2.20 57.950//2.25 |
| 1-й номинальный размер | 57.945//2.35 57.940//2.40 57.935 |
| 1-й ремонтный размер | 57.700 |
| 2-й ремонтный размер | 57.450 |
| 3-й ремонтный размер | 57.200 |
| Диаметр шатунных шеек, мм | |
| Номинальный размер | 47.955 |
| 1-й ремонтный размер | 47.705 |
| 2-й ремонтный размер | 47.455 |
| 3-й ремонтный размер | 47.205 |
| Ширина шатунных шеек, мм | 24.225 |
| Диаметр постелей коренных подшипников, мм | 62.500 |
| Диаметр постелей шатунных подшипников, мм | 61.600 |
| Внутренний диаметр коренных подшипников, мм | 23.500 |
| Ширина шатунной шейки, мм | 22.000 |
| Допустимые овальность и конусность постелей подшипников | 0.02 |
| Радиальный зазор, мм | |
| Коренные подшипники | 0.026 - 0.050 |
| Шатунные подшипники | 0.020 - 0.058 |
| Осевой люфт коленчатого вала, мм | 0.100 - 0.254 |
| Осевой люфт шатунов, мм | 0.225 - 0.391 |
Соответствие цветовой и точечной маркировки вкладышей коренных подшипников и блока цилиндров
| Параметры | Значение | ||||
| Точечная маркировка на блоке цилиндров | 1 точка | 2 точки | 3 точки | — | — |
| Цветовая маркировка на крышках подшипников | Синий | Желтый | Красный | — | — |
| Цветовая маркировка на коленчатом вале | Синий | Желтый | Красный | Белый | Фиолетовый |
| Цветовая маркировка верхних вкладышей | Синий | Желтый | Красный | — | — |
| Цветовая маркировка нижних вкладышей | Синий | Желтый | Красный | Белый | Фиолетовый |
| Буквенная маркировка на шейках коренных подшипников | В | G | R | W | V |
| Действительные номера диаметров на коренных шейках | 35-39 | 40-44 | 45-49 | 50-54 | 55-60 |
Двигатели серии ОМ603
Размеры шатунов
1 - Шатун; 2 - Шатунная крышка; 3 - Втулка; 4 - Направляющие пазы; 5 - Шатунный болт; 6 - Балансировочные грузики; 7 - Идентификационное поле (модели с турбонаддувом); 8 - Пазы для установки вкладышей; 9 - Масляный канал (модели с турбонаддувом); 10 - Масляный канал (модели без турбонаддува); 11 - Идентификационное поле (модели без турбонаддува); b - Ширина верхней головки шатуна; B - Ширина нижней головки шатуна; d - Внутренний диаметр втулки верхней головки шатуна; d1 - Наружный диаметр втулки верхней головки шатуна; D1 - Диаметр отверстия нижней головки шатуна; L - расстояние между центрами отверстий головок шатуна
| Размер «L», мм | 144.97 - 145.03 |
| Ширина нижней головки шатуна «В», мм | 21.948 - 22.000 |
| Диаметр отверстия нижней головки шатуна «D1» | 51.600 - 51.614 |
| Максимальные допустимые овальность и конусность отверстия, мм | 0.02 |
| Внутренний диаметр втулки верхней головки шатуна «d», мм | 28.018 - 28.024 |
| Наружный диаметр втулки, мм | 30.575 - 30.600 |
| Диаметр отверстия верхней головки шатуна (под втулку) «d1», мм | 30-500 - 30-525 |
| Люфт посадки поршневого пальца во втулке шатуна, мм | 0.007 - 0.018 |
Размеры цилиндров
| Диаметр цилиндров, мм | |
| Номинальный | 89.0 |
| Размерная группа A | 89.000 - 89.006 |
| Размерная группа X | 89.007 - 89.012 |
| Размерная группа В | 89.013 - 89.018 |
| Допустимое отклонение диаметра цилиндра в продольном и поперечном направлениях, мм | 0.20 |
| Допустимая конусность, мм | 0.007 |
| Допустимая овальность, мм | 0.07 |
| Предел износа, мм | 0.05 |
Размеры отверстий в блоке цилиндров под установку гильз
D, D1 — Диаметры под буртики гильзы
D2 — Диаметр под гильзу
Т — Длина гильзы
Т1 — Посадочная глубина гильзы
| Диаметр «D2» под гильзу в блоке цилиндров, мм | 91.500 - 91.535 |
| Диаметр «D1» под буртик гильзы в блоке цилиндров, мм | 92.00 - 92.20 |
| Диаметр «D» под буртик гильзы в блоке цилиндров, мм | 94.15 - 94.25 |
| Длина гильзы «Т», мм | 231.0 - 231.2 |
| Посадочная глубина гильзы «T1», мм | 1.0 - 1.2 |
| Ширина фаски «М», мм | 35 |
Размеры коленчатого вала, коренных и шатунных подшипников
| Диаметр коренной шейки, мм | |
| Номинальный размер | 57.940 - 57.965 |
| 1-й ремонтный размер | 57.700 - 57.715 |
| 2-й ремонтный размер | 57.450 - 57.465 |
| 3-й ремонтный размер | 57.200 - 57.215 |
| 4-й ремонтный размер | 56.950 - 56.965 |
| Диаметр коренной шейки, мм | |
| Номинальный размер | 47.940 - 47.965 |
| 1-й ремонтный размер | 47.700 - 47.715 |
| 2-й ремонтный размер | 47.450 - 47.465 |
| 3-й ремонтный размер | 47.200 - 47.215 |
| 4-й ремонтный размер | 46.950 - 46.964 |
| Установочная ширина коренных шеек, мм | |
| Номинальный размер | 24.500 - 24.533 |
| 1-й ремонтный размер | 24.600 - 24.633 |
| 2-й ремонтный размер | 24.700 - 24.733 |
| 3-й ремонтный размер | 24.900 - 24.933 |
| 4-й ремонтный размер | 25.000 - 25.033 |
| Диаметр отверстия под коленчатый вал, мм | 62.500 - 62.519 |
| Ширина отверстия под коленчатый вал при установленных вкладышах, мм | 19.979 - 20.000 |
| Допустимые овальность и конусность постелей вкладышей коренных подшипников, мм | 0.02 |
| Рабочие зазоры коренных подшипников, мм | |
| Новый | 0.03 - 0.05 |
| Допустимый | 0.08 |
| Осевой люфт коленчатого вала, мм | |
| Новый | 0.10 - 0.25 |
| Допустимый | 0.3 |
| Радиальное биение коленчатого вала, мм | 0.020 - 0.065 |
| Стандартные вкладыши коленчатого вала для крышек подшипников диаметром | 58 мм |
| Ремонтный диаметр (цвет - синий), мм | 52 |
| Ремонтный диаметр (цвет желтый), мм | 54 |
| Ремонтный диаметр (цвет желтый), мм | 54 |
| Толщина вкладыша, мм | 2.260 - 2.265 |
| Ремонтный диаметр (цвет - красный), мм | 56 |
| Толщина вкладыша, мм | 2.265 - 2.270 |
| Ремонтный диаметр (цвет белый), мм | 57 |
| Толщина вкладыша, мм | 2.270 - 2.275 |
| Ремонтный диаметр (цвет пурпурный), мм | 58 |
| Толщина вкладыша, мм | 2.275 - 2.280 |
Двигатели серии ОМ606
Размеры клапанов
1 — Установочные метки для приведения двигателя в положение ВМТ конца такта сжатия поршня первого цилиндра
2 — Блокировка впускного распределительного вала при помощи стержня
3 — Удостоверьтесь в правильности совмещения 1.5-миллиметровых отверстий в звездочках
4 — Для крепления звездочек распределительных валов используются одноразовые болты, подлежащие замене в обязательном порядке
5 — Сборка натяжителя цепи
6 — При снятии/установке ТНВД коленчатый вал следует привести в положение 14°+05° после ВМТ поршня первого цилиндра
7 — Болт звездочки ТНВД имеет левую нарезку.
8 — Стопорный инструмент
| Диаметр тарелки клапана «D», мм | |
| Впускной | 25.90 - 26.10 |
| Выпускной | 28.90 - 29.10 |
| Высота цилиндрической части (пояска) тарелки клапана «h», мм | 1.0 - 1.2 |
| Угол фаски седла клапана | 45° 15' |
| Диаметр стержня клапана «D1», мм | |
| Впускной | 6.955 - 6.97 |
| Выпускной | 5.955 - 5.97 |
| Полная длинна клапана «L», мм | |
| Впускной | 105.5 - 105.9 |
| Выпускной | 105.2 - 105.9 |
| Ширина рабочей фаски седла клапана, мм | 1.9 |
| Смещение оси седла клапана относительно стержня, мм | 0.03 |
| Обозначение на конце стержня клапана | |
| Впускной | A 606 13 |
| Выпускной | E 606 11 |
Размеры направляющих втулок клапанов
Детали установки направляющих втулок клапанов
| Диаметр отверстия в головке блока цилиндров, мм | |
| Номинальный | 12.50 - 12.51 |
| 1-й номинальный | 12.53 |
| 1-й ремонтный | 12.70 |
| Наружный диаметр направляющей втулки, мм | |
| Номинальный | 12.54 - 12.55 |
| 1-й номинальный (цвет: серый) | 12.56 - 12.57 |
| 1-й ремонтный (цвет: красный) | 12.74 - 12.75 |
| Внутренний диаметр направляющей втулки, мм | |
| Впускной клапан | 6.000 - 6.015 |
| Выпускной клапан | 6.000 - 6.015 (до 11.94) 7.000 - 7.015 (с 11.94) |
| Длина направляющей втулки «L», мм | 37.5 |
| Натяг посадки в головке блока цилиндров, мм | 0.029 - 0.051 |
| Размер «а» | — |
| Размер «b» | — |
| Размер «с» | 10.2 - 10.04 |
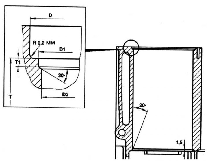
Размеры седел клапанов
Фрезеровка и шлифовка седел клапанов
Детали установки седла клапана
| Внутренний диаметр направляющей втулки, мм | |
| Ширина фаски седла клапана «b», мм | |
| Впускной клапан | 1.0 - 1.5 |
| Выпускной клапан | 0.8 - 1.5 |
| Угол фаски седла клапана б | 45° 15' |
| Корректировочный угол в | |
| Впускной клапан | 15° 15' |
| Выпускной клапан | 25° 15' |
| Предельная овальность седла клапана, мм | 0.03 |
| Расстояние от торца стержня клапана до подшипника распределительного вала «Т», мм | 23.7 - 24.2 |
| Глубина отверстия «С» под седло клапана в головке блока цилиндров, мм | |
| Стандартное кольцо | |
| Впускной клапан | 7.94 - 8.04 |
| Выпускной клапан | 7.924 - 8.02 |
| Ремонтное кольцо | |
| Впускной клапан | 8.14 - 8:24 |
| Выпускной клапан | 8.12 - 8.23 |
| Радиус «R», мм | |
| Впускной клапан | 0.2 - 0.4 |
| Выпускной клапан | 0.2 - 0.4 |
| Диаметр «D2» отверстия под седло клапана, мм | |
| Номинального размера | |
| Впускной клапан | 30.060 - 30.070 |
| Выпускной клапан | 28.000 - 28.013 |
| Ремонтного размера | |
| Впускной клапан | 30.250 - 30.266 |
| Выпускной клапан | 28.250 - 28.263 |
| Перекрытие клапанов, мм | |
| Впускной клапан | 0.2 - 0.4 |
| Выпускной клапан | 0.2 - 0.4 |
| Высота седла клапана «Н», мм | |
| Номинального размера | |
| Впускной клапан | 5.6 |
| Выпускной клапан | 5.6 |
| 1-го ремонтного размера | |
| Впускной клапан | 5.6 |
| Выпускной клапан | 5.6 |
| Наружный диаметр «D» седла клапана, мм | |
| Номинального размера | |
| Впускной клапан | 30.000 - 30.013 |
| Выпускной клапан | 27.97 - 28.07 |
| 1-го ремонтного размера | |
| Впускной клапан | 30.31 - 30.32 |
| Выпускной клапан | 28.31 - 28.32 |
Размеры шатунов
1 - Шатун; 2 - Шатунная крышка; 3 - Втулка; 4 - Направляющие пазы; 5 - Шатунный болт; 6 - Балансировочные грузики; 7 - Идентификационное поле (модели с турбонаддувом); 8 - Пазы для установки вкладышей; 9 - Масляный канал (модели с турбонаддувом); 10 - Масляный канал (модели без турбонаддува); 11 - Идентификационное поле (модели без турбонаддува); b - Ширина верхней головки шатуна; B - Ширина нижней головки шатуна; d - Внутренний диаметр втулки верхней головки шатуна; d1 - Наружный диаметр втулки верхней головки шатуна; D1 - Диаметр отверстия нижней головки шатуна; L - расстояние между центрами отверстий головок шатуна
| Расстояние между центрами шатунных головок «L», мм 1 | 48.7 - 149.3 |
| Ширина верхней «b» и нижней «В» головок шатуна, мм | 21.48 - 22.00 |
| Диаметр «D1» нижней головки шатуна, мм | 51.600 - 51.614 |
| Допустимые овальность и конусность отверстия нижней головки шатуна, мм | 0.02 |
| Допустимое скручивание шатуна на 100 мм длины, мм | 0.1 |
| Допустимая разница в отклонении от параллельности между головками шатуна на 100 мм длины шатуна, мм | 0.045 |
| Внутренний диаметр втулки верхней головки шатуна «d», мм | 28-018 - 28.024 |
| Внешний диаметр втулки, мм | 30.575 - 30.600 |
| Диаметр под втулку в верхнейголовке шатуна «d1», мм | 30.500 - 30.525 |
| Зазор поршневого пальца во втулке верхней головки шатуна, мм | 0.007- 0.008 |
| Максимальное выступание (Rz) втулки шатуна наружу, мкм | 5 |
| Максимальная допустимая разница веса шатунов, г | 2 |
Размеры отверстий в блоке цилиндров под установку гильз, мм
Извлечение гильзы
| Диаметр «D2» под гильзу в блике цилиндров, мм | 9.000 - 90.535 |
| Диаметр «D1» под буртик гильзы в блоке цилиндров, мм | 90.55 - 90.65 |
| Диаметр «D» под буртик гильзы в блоке цилиндров, мм | 92.65 - 92.75 |
| Длина гильзы «Т», мм | 231.0-231.2 |
| Посадочная глубина гильзы «Т1», мм | 1.0 - 1.2 |
Размеры цилиндров
A — Продольное направление
B — Поперечное направление
а — Верхняя точка хода верхнего компрессионного кольца
b — Нижняя мертвая точка
с — Нижняя точка хода маслосъемного кольца
1, 2, 3 — Точки измерений
| Диаметр, мм | |
| Номинальный | 87.0 |
| Размерная группа A | 87.000 - 87.006 |
| Размерная группа Х | 87.007 - 87.012 |
| Размерная группа B | 87.013 - 87.018 |
| Допустимый лимит цилиндра в продольном и поперечном направлениях, мм | 0.20 |
| Допустимая конусность цилиндров нового блока, мм | 0.000 - 0.014 |
| Предел износа, мм | 0.05 |
| Допустимая овальность цилиндров, мм | 0.07 |
Размеры коленчатого вала
| Диаметр отверстия под коленчатый вал, мм | 62.500 - 62.519 |
| Ширина отверстия под коленчатый вал при установленных вкладышах, мм | 19.979 - 20.000 |
| Допустимые овальность и конусность постелей вкладышей коренных подшипников коленчатого вала, мм | 0.02 |
| Рабочий зазор в коренных подшипниках, мм | |
| Новый | 0.03 - 0.05 |
| Предельно допустимый | 0.08 |
| Осевой люфт коленчатого вала, мм | |
| Новый | 0.10 - 0.25 |
| Предельно допустимый | 0.3 |
| Радиальное биение коленчатого вала, мм | 0.020 - 0.065 |
| Номинальные вкладыши коленчатого вала для крышек подшипников диаметром 58 мм | |
| Ремонтный диаметр (цвет - синий), мм | 52 |
| Толщина вкладыша, мм | 2.255 - 2.260 |
| Ремонтный диаметр (цвет - желтый), мм | 54 |
| Толщина вкладыша, мм | 2.260 - 2.265 |
| Толщина вкладыша, мм | 2.265 - 2.270 |
| Ремонтный диаметр (цвет - белый), мм | 57 |
| Толщина вкладыша, мм | 2.270 - 2.275 |
| Ремонтный диаметр (цвет - пурпурный), мм | 58 |
| Толщина вкладыша, мм | 2.275 - 2.280 |
| Вкладыши 1-го ремонтного размера коленчатого вала для крышек подшипников диаметром 57.70 мм | |
| Толщина вкладыша, мм | 2.37 |
| Вкладыши 2-го ремонтного размера коленчатого вала для крышек подшипников диаметром 57.40 мм | |
| Толщина вкладыша, мм | 2.50 |
| Вкладыши 3-го ремонтного размера коленчатого вала для крышек подшипников диаметром 57.20 мм | |
| Толщина вкладыша, мм | 2.62 |
| Вкладыши 4-го ремонтного размера коленчатого вала для крышек подшипников диаметром 56.90 мм | |
| Толщина вкладыша, мм | 2.75 |
Усилия затягивания резьбовых соединений, Нм
Порядок затягивания болтов головки блока цилиндров на моделях с бензиновыми двигателями
Порядок затягивания болтов головки блока цилиндров на моделях с дизельными двигателями
| Болты головки цилиндров | |
| Бензиновые модели (длина до основания головки не более 162.7 мм) | 55НЧм, +90°, +90° |
| S300 TDI до 01.89 г (длина до основания головок не более 83.6, 105.6 и 118.6 мм) | 25НЧм, +40НЧм, выждать 10 мин, +90°, +90° |
| S300 TDI после 01.89 г (длина до основания головок не более 82, 104 и 117 мм) | 15НЧм, +35НЧм, +90°, выждать 10 мин, +90° (М8 25НЧм) |
| Болты крышек коренных подшипников | |
| S280, S320 (длина до основания головки не более 63.8 мм) | 55НЧм, +90°, -100° |
| S420, S500 | 25НЧм, +50НЧм |
| S300 TDI | М11: 55НЧм, +90°, М12: 90НЧм |
| S600 | М8: 30НЧм, М10: 50НЧм |
| Болты крышек шатунных подшипников | |
| S280, S320 (длина до основания головки не более 52.9 мм) | 30+90° |
| S420, S500, S600 | 45НЧм, +90°, -100° |
| S300 TDI | 40НЧм, +90°, -100° |
| Болты маховика/приводного диска S280, S320, S420 (диаметр нерезьбовой части не более 8.1 мм для маховика, 8.0 мм для приводного диска) | 30 Нм, +90° |
| S300 TDI | 40НЧм, +90°, -100° |
| S500, S600 | 35НЧм, +90°, -100° |
| Корзина сцепления на маховике | 25 |
| Шкив коленвала | |
| S280, S320, S420, S500, S600 | 400 |
| S300 TDI | 200НЧм, +90° |
| Болты звездочек распредвалов | |
| S280, S320 | Torx: 22, Шестигранные: 18, Torx с буртиком: 20Нм+90°-100° |
| S420, S500 | 18 |
| S300 TDI | 25НЧм, +90° |
| S600 | 20НЧм, +90°, -100° |
| Крышка постели распредвала | |
| S280, S320, S600 | 21 |
| S420, S500 | 12 |
| S300 TDI | 25 |
| Крышка рокеров распредвала | |
| S280, S320, S420, S500, S600 | 9 |
| S300 TDI | 10 |
| Свечи | |
| S280, S320, S420, S500 | 25-30 |
| S600 | 25 |
| S300 TDI | 20 |
| Зажимы форсунок | 30 |
| Фланец ТНВД | 20 |
| Распылитель форсунки к держателю | 80 |
| Лямбда-зонд | 50-60 |
| Датчик детонации | 20 |
| Двигатели серии М | 104.94/99 |
| Болты и гайки крепления впускного трубопровода к головке блока цилиндров | 25 |
| Болты крепления крышки головки блока цилиндров | 10 |
| Болты крепления крышки цепи привода ГРМ к блоку цилиндров | |
| М6 | 9 |
| М8 | 21 |
| Болт крепления натяжного устройства блоку цилиндров | 75 |
| Болт крепления арматуры к контрольному плунжеру | |
| 1-я версия | 7 |
| 2-я версия | 5Нм + 90° |
| Гайка регулятора М20 | 65 |
| Сливная пробка | 25 |
| Болты крепления поддона к блоку цилиндров | |
| М6 | 10 |
| М8 | 25 |
| М10 | 40 |
| Маслопроводы к поддону | 10 |
| Звездочка масляного насоса к насосу | 32 |
| Болты крепления крышки масляного насоса М6 | 10 |
| Масляный фильтр к блоку цилиндров | 25 |
| Крышка масляного фильтра | 20 |
| Датчик давления масла к корпусу масляного фильтра | 20 |
Двигатели серии М119.97/98
| Болт крепления крышки головки блока цилиндров | 9 |
| Болты крепления впускного трубопровода | 28 |
| Болт крепления верхней части впускного трубопровода к нижней части | 25 |
| Выпускная труба к выпускному коллектору | 20 |
| Болты крепления выпускного коллектора | 30 |
| Болты крепления крышки корпуса термостата | 10 |
| Болты крепления насоса системы охлаждения | 21 |
Двигатели серии M120.980/982
| Болт крепления впускного трубопровода | 28 |
| Болт крепления промежуточного фланца | 28 |
| Гайки крепления выпускного коллектора | 30 |
| Болт крепления передней крышки М8 | 25 |
| Крышка цепи привода ГРМ к блоку цилиндров | |
| М6 | 9 |
| М8 | 21 |
| Болт крепления воздушного насоса/ кронштейна генератора | 25 |
| Пробка натяжителя цепи привода ГРМ | 40 |
| Корпус натяжителя цепи привода ГРМ в крышке цепи привода ГРМ | 80 |
| Гайка крепления фланца к звездочке | 65 |
| Болт крепления арматуры к плунжеру | 5Нм + 90° |
| Болт крепления крышки распределительного вала | 21° |
| Болты крепления маслоотражателя | 9 |
| Болты крепления поддона к блоку цилиндров | |
| М6 | 10 |
| М8 | 21 |
| М12 | 40 |
| Сливная пробка М12 | 40 |
| Болт крепления маслоотражателя к поддону М12 | 9 |
| Звездочка масляного насоса | 28 |
| Болты М6 крепления муфты вентилятора и шкива насоса системы охлаждения | 10 |
| Болты М6 крепления насоса системы охлаждения | 21 |
Двигатели серии ОМ603.971
| Пружинный рычаг на головке блока цилиндров | 21 |
| Болт крепления натяжного ролика | 30 |
| Палец натяжного рычага | 100 |
| Амортизатор натяжного устройства к головке блока цилиндров | 25 |
| Амортизатор натяжного устройства к натяжному рычагу | 20 |
| Болты крепления крышки ГРМ к головке блока цилиндров | |
| Болты крепления крышки головки блока цилиндров | 10 |
| Болт крепления крышки цепи привода ГРМ к головке блока цилиндров | 25 |
| Натяжитель цепи привода ГРМ | 80 |
| Болт М12 подшипника коленчатого вала | 90 |
| Болты крепления поддона | |
| М6 | 10 |
| М8 | 25 |
| Болт крепления датчика уровня масла | 10 |
| Болт крепления звездочки масляного насоса | 32 |
| Гайка крепления крышки масляного насоса | 25 |
| Болт крепления корпуса масляного фильтра к блоку цилиндров | 25 |
| Болт крепления шкива насоса системы охлаждения | 15 |
| Болт крепления насоса системы охлаждения к корпусу | 10 |
| Болт крепления корпуса насоса системы охлаждения к блоку цилиндров | 10 |
Двигатели серии ОМ606.961
| Болт крепления крышки головки блока цилиндров | 10 |
| Резьбовое кольцо предкамеры в головке блока цилиндров | 130 |
| Болт крепления корпуса распределительным валов к головке блока цилиндров | 15 |
| Болт крепления крышки распределительного вала | 15 |
| Болт крепления крышки цепи привода ГРМ к головке блока цилиндров | 25 |
| Болт крепления крышки цепи привода ГРМ к блоку цилиндров | 10 |
| Натяжитель цепи привода ГРМ | 80 |
| Задняя ступица | 320 |
| Передний суппорт к держателю | 35 |
| Задний суппорт к держателю (TDI) | 115 |
| Держатель суппорта к кулаку | |
| Передние колеса | 115 |
| Задние колеса | |
| До 07.93 г | 115 |
| После 08.93 г | 50 |
| Гайки наконечников рулевых тяг | |
| S280, S320, S300 TDI | 50 |
| S420, S500, S600 | 55 |
| Колеса | |
| S280, S320, S420, S500, S600 | 150 |
| S300 TD | I 110 |
