Зміст: Зняття ↡ Встановлення ↡
Зняття
1. Зніміть переднє колесо.
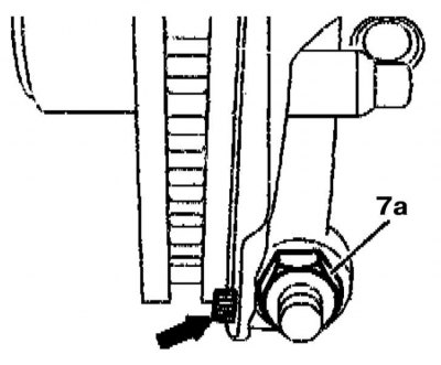
2. Викрутіть стопорний гвинт у гальмівний щит. Віддайте осьову гайку (7а) опорного шарніра кульової опори.

3. Наверніть на вісь опорного шарніра кульової опори упорний елемент (044b), відтягніть назовні гальмівний диск зі щитом і за допомогою знімка (044) № 140 589 09 33 00 відокремте опорний шарнір від поворотного кулака.

4. Викрутіть гайку шарніра з боку важеля.
5. Діючи в аналогічній манері, звільніть кульову опору з важеля підвіски.

6. У разі потреби зачистіть конусні елементи шарнірного складання.
7. Оцініть стан захисного чохла (7f) та дротяних хомутів (7d та 7h) його кріплення. У разі потреби зробіть необхідний відновлювальний ремонт, або замініть компоненти/шарнірне складання, що вийшли з ладу.

Встановлення
Установка здійснюється у зворотному порядку.
Затягніть гайки, що самоконтрятся, кріплення опори з необхідним зусиллям (до поворотного кулака: 140 Нм, до важеля: 100 Нм). Стопорний гвинт на гальмівному щиті затягніть із зусиллям 22 Нм, на гальмівному диску – із зусиллям 10 Нм.
